The Two-Stage Mechanical Oscillator is a patent protected technology by academician Veljko Milkovic, a prominent Serbian researcher and inventor. The first patent application was submitted in 1999 and so far 29 patents were granted in the field of mechanical oscillations and pendulum drive.
Hand water pump with a pendulum
YU 49002 B - P-577/99
Patents of Veljko Milkovic -- Patent #1: Hand water pump with a pendulum
Fan with a pendulum
YU 348 MP - MP-32/00
Patents of Veljko Milkovic -- Patent #2: Fan with a pendulum
Electric generator with a pendulum and magnetic bumpers
YU 313 MP - MP-37/00
Patents of Veljko Milkovic -- Patent #3: Electric generator with a pendulum and magnetic bumpers
Mechanical hammer with adjustable pendulum weight
YU 343 MP - MP-60/00
Patents of Veljko Milkovic -- Patent #4: Mechanical hammer with adjustable pendulum weight
Electric generator with wind and gravity drive
YU 330 MP - MP-63/00
Patents of Veljko Milkovic -- Patent #5: Electric generator with wind and gravity drive
Press with a pendulum and magnets
YU 375 MP - MP-14/01
Patents of Veljko Milkovic -- Patent #6: Press with a pendulum and magnets
Piston water pump with a pendulum and electro magnets
YU 361 MP - MP-23/01
Patents of Veljko Milkovic -- Patent #7: Piston water pump with a pendulum and electro magnets
Electric generator with an elastic pendulum handle
YU 371 MP - MP-33/01
Patents of Veljko Milkovic -- Patent #8: Electric generator with an elastic pendulum handle
Wind generator with a two-armed lever and wind circle with an eccentric mass
YU 384 MP - MP-4/01
Patents of Veljko Milkovic -- Patent #9: Wind generator with a two-armed lever and wind circle with an eccentric mass
Instrument for comparing the amount of work created by a pendulum when it transfers the kinetic energy directly to the object with the impact of its mass and indirectly through a two-armed lever
YU 439 MP - MP-106/01
Patents of Veljko Milkovic -- Patent #10: Instrument for comparing the amount of work created by a pendulum...
A machine for the production of energy from gravity potential with instruments for measuring efficiency
YU 49463 B - P-087/02
ENGLISH VERSION
Patents of Veljko Milkovic -- Patent #11: A machine for the production of energy from gravity potential...
Device for the production of energy from gravitational potential and centrifugal force with instruments for efficiency measurements
YU 460 MP - MP-30/02
Patents of Veljko Milkovic -- Patent #12: Device for the production of energy from gravitational potential and centrifugal force...
Piston pump with an electric motor and an excenter
YU 514 MP - MP-65/02
Patents of Veljko Milkovic -- Patent #13: Piston pump with an electric motor and an excenter
Sieve with a two-armed lever and a pendulum that oscillates under force
YU 495 MP - MP-78/02
Patents of Veljko Milkovic -- Patent #14: Sieve with a two-armed lever and a pendulum that oscillates under force
Device for inspection of oscillations created by a two-armed leaver and a pendulum depending on the place of an impulse force
YU 500 MP - MP-80/02
Patents of Veljko Milkovic -- Patent #15: Device for inspection of oscillations created by a two-armed leaver and a pendulum...
Hand water pump with a pendulum
YU 529 MP - MP-90/02
Patents of Veljko Milkovic -- Patent #16: Hand water pump with a pendulum
Piston water pump with an electric motor and cogwheels with an eccentric mass
YU 537 MP - MP-94/02
Patents of Veljko Milkovic -- Patent #17: Piston water pump with an electric motor and cogwheels with an eccentric mass
Mechanical toy with a pendulum and three oscillating levers
YU 489 MP - MP-98/02
Patents of Veljko Milkovic -- Patent #18: Mechanical toy with a pendulum and three oscillating levers
Generator of electrical energy driven by an electric motor, gravitational and centrifugal force
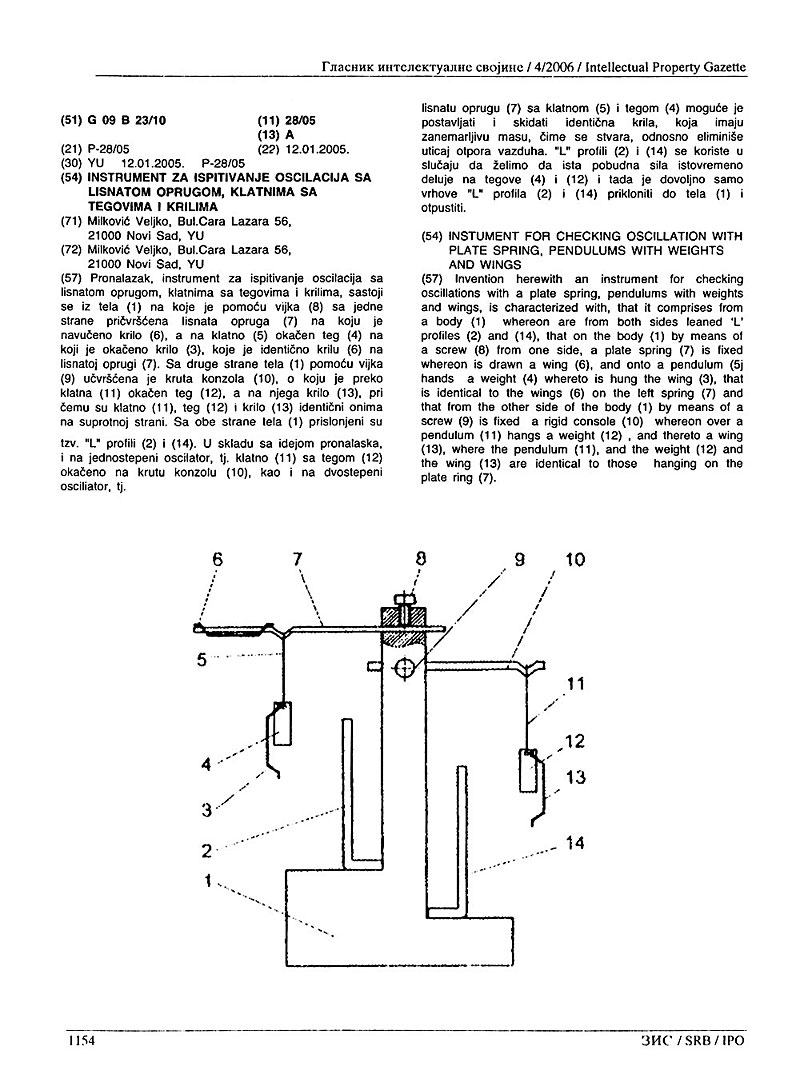
YU 490 MP - MP-100/02
Patents of Veljko Milkovic -- Patent #19: Generator of electrical energy driven by an electric motor, gravitational and centrifugal force
Hammer with an electro motor drive and rotating eccentric masses
YU 545 MP - MP-122/02
Patents of Veljko Milkovic -- Patent #20: Hammer with an electro motor drive and rotating eccentric masses
Horizontal press for briquette production
YU 572 MP - MP-129/02
Patents of Veljko Milkovic -- Patent #21: Horizontal press for briquette production
Instruments for comparison of single-stage and two-stage oscillations
YU 652 MP - MP-27/04
Patents of Veljko Milkovic -- Patent #22: Instruments for comparison of single-stage and two-stage oscillations
Instruments for checking oscillation with plate spring, pendulums with weights and wings
RS 50098 B - P-2005/0028
ENGLISH VERSION
Patents of Veljko Milkovic -- Patent #23: Instruments for checking oscillation with plate spring, pendulums with weights and wings
Device having oscillating elastic arms to drive vessels
RS 51040 B - P-2005/0095
ENGLISH VERSION
Patents of Veljko Milkovic -- Patent #24: Device having oscillating elastic arms to drive vessels
Device for testing transmission of power by a flexible shaft and an eccentric rotor
RS 51446 B - P-2005/0172
ENGLISH VERSION
Patents of Veljko Milkovic -- Patent #25: Device for testing transmission of power by a flexible shaft and an eccentric rotor
Instrument for examination of the effect of the mass of a two-sided lever to its oscillations when connected to a pendulum in a two-degree oscillator
RS 50180 B - P-2006/0094
ENGLISH VERSION
Patents of Veljko Milkovic -- Patent #26: Instrument for examination of the effect of the mass of a two-sided lever to its oscillations...
Electric dynamo with pendulum and magnets
RS 49959 B - P-2006/0165
ENGLISH VERSION
Patents of Veljko Milkovic -- Patent #27: Electric dynamo with pendulum and magnets
Mechanical hammer with a pendulum and permanent magnets
RS 1420 U1 - MP-2014/0036
Patents of Veljko Milkovic -- Patent #28: Mechanical hammer with a pendulum and permanent magnets
Commission members of the SAIN Academy, on the basis of the submitted documentation and following a successful demonstration, reached a conclusion on the Two-Stage Oscillator.
The goal of this work is to answer two basic questions: how to construct an efficient two-stage oscillator and how to measure the quotient of efficiency of the constructed oscillator.

Gravitational Machines
by Veljko Milkovic
Learn about the gravitational machines from Leonardo da Vinci to the latest discoveries...

Basic Principles of Over Unity Electromagnetic Machines
by Jovan Marjanovic
Learn basic ideas of making new ultra efficient electric motors and generators and how to improve existing patents which use permanent magnets...

Anti-Gravity Motor
by Veljko Milkovic
Learn about the new drive and movement of vehicles without
an intermediary mechanism (transmission)...