
|
Physics of the Two-Stage Mechanical Oscillator

Scientific Opinions
"...This certainly ranks as one of the most important discoveries in science in the last 300 years..." Peter Lindemann, D.Sc.
"...The double oscillator is also the best mechanical analogy of the alternating current, even better than Tesla's analogy..." prof. Velimir Abramovic, Ph.D.
"...It is estimated that the input of gravity in the performance of biphase oscillator is around 80%..." academician prof. Bratislav Tosic, Ph.D.
Theoretical Analyses
| |
-
Physics of the Pendulum-Lever Energy System: A Summary of Knowledge
by Jovan Marjanovic, M.Sc.
 The goal of this work is to summarize the findings from previous papers along with some additional comments and also to answer two basic questions: how to construct an efficient Veljko Milkovic two-stage oscillator and how to measure the quotient of efficiency of the constructed oscillator. The goal of this paper is to explain all the facts about construction and measuring in order to facilitate other people’s efforts towards a replication embodying a high efficiency quotient. more
|
| |
-
The Secret of Free Energy from the Pendulum by Jovan Marjanovic, M.Sc.
 In this work, the author for the first time has identified centrifugal force as a source of over unity work under some conditions and also calculated maximal efficiency quotients of the machine. Problems which easy can undermine over unity behavior of machine were identified and solutions were proposed.
Influence of length of pendulum and critical angle on machine efficiency were clearly explained and mathematically supported. more
|
| |
- Theory of Gravity Machines by Jovan Marjanovic, M.Sc.
This work is a presentation of simple theory of using conservative
gravitational field as a fuel. In order to extract energy from conservative field,
gravity shield effect is necessary. With proper usage of the shield, variable
gravity field should be created in part of a system. Energy can be extracted only
if difference in potential exists between two poles. The logic of this theory will
also be used to explain two-stage mechanical oscillator of Veljko Milkovic and
areas of its improvement. more
|
| |
-
Keys of Understanding Gravity Machines of Veljko Milkovic by Jovan Marjanovic, M.Sc.
 The goal of this work is of to clarify some issues concerning two inventions of
Serbian inventor Veljko Milkovic. The first invention is two-stage mechanical oscillator and
second one is inertial propulsion cart.
In this work the author will try to point out omissions in modeling the system, discuss issues with mechanical feedback loop, discuss some errors in measuring and re-calculate output energy done by Jovan Bebic,
continue addressing issues started by Colin Gauld concerning Centrifugal force
terminology and omission to use moment of inertia in formula for kinetic energy, challenge the first and third Newton's laws and confine the law of conservation of quantity of the movement of the system in analysis of inertial propulsion cart. more
|
| |
|
| |
-
Milkovic's Two Stage Oscillator As a Parametric Oscillator by Aleksandar B. Slavkovic
In this document I will show that Mr. Milkovic's two stage oscillator may be viewed as a damped parametric oscillator, and that pumping of energy from the driving, swinging pendulum is not a precedent in the world of physics, but rather, an expected effect due to a well-known phenomenon called parametric excitation, parametric resonance or parametric pumping. Consequently, a ready-set of modeling tools should be applicable to properly model the device.
I propose that Mr. Milkovic’s invention belongs in a new category of devices called “Double-(fulcrum)-Bounded Parametric Oscillators.” more
|
| |
|
| |
|
| |
|
| |
|
| |
|
| |
|
Related theoretical papers
| |
- Angular Momentum, Parametric Oscillator and Over Unity by Jovan Marjanovic, M.Sc.
The goal of this work is to present mathematical and experimental proof of getting energy surplus or over-unity energy out of gravitational field by using pendulum as parametric oscillator.
In this work author definitely proved that the law of conservation of energy is not valid where the law of conservation of angular momentum was valid. In this work the author will discuss: the law of conservation of angular momentum, principle of getting energy surplus out of pendulum which works as parametric oscillator,
angular momentum and conflict with the law of conservation of total energy in orbits of central forces (gravitational, electrostatic, etc.),
angular momentum and corruption of centrifugal force,
experimental proof of increasing potential and kinetic energy in the same time when the law of conservation of angular momentum is valid... more
|
| |
|
| |
|
| |
|
Mathematical Analyses
| |
-
Common problems with mathematical models and Lagrange's equations for two-stage oscillators by Jovan Marjanovic, M.Sc.
 This paper will discuss two basic problems with mathematical models
of the two stage mechanical oscillator of Veljko Milkovic; problem with dynamical usage of input energy and problems with soft connection between members of the system.
The paper is written in order to describe the common problems
scientists have in modeling this system and also the wrong conclusions that
come out as the consequence of the usage of Lagrange’s equations which fail to
describe all the facts correctly. more
|
| |
-
Modeling and simulation of a double pendulum with pad by Bojan Petkovic, M.Sc.
 In this paper, results of the simulation of a double pendulum with a horizontal pad are presented. Pendulums are arranged in such a way that in the static equilibrium, small pendulum takes the vertical position, while the big pendulum is in a horizontal position and rests on the pad. Motion during one half oscillation is investigated. Impact of the big pendulum on the pad is considered to be ideally inelastic. Characteristic positions and angular velocities of both pendulums, as well as their energies at each instant of time are presented. Obtained results proved to be in accordance with the motion of the real physical system. Double pendulum with pad refers to the two-stage mechanical oscillator that is invented, patented and constructed by Serbian inventor Veljko Milkovic. more
|
| |
-
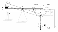
Oscillation of the lever caused by the swinging of the pendulum by academician prof. Bratislav Tosic, Ph.D.
 Two-armed lever has a weight on one arm, and the pendulum on the other, which is
oscillating forcibly because of the additional force moment created by the swinging of the
pendulum. “Gradual“ oscillations of the lever are also possible, but for the selection of the
masses on lever arms and the selection of the force arm and the weight arm, there are no
spontaneous oscillations.
The first part will contain the theory of the mathematical pendulum, and then all the
results will be used for the solution of the basic problem: oscillation of the lever due to the
oscillation of the pendulum. more
|
|